Τελευταία Νέα
Αυτοκίνητο

Είναι αυτό το νέο Mazda MX-5 με φουλ υβριδική κίνηση;

tags :
Είναι αυτό το νέο Mazda MX-5 με φουλ υβριδική κίνηση;
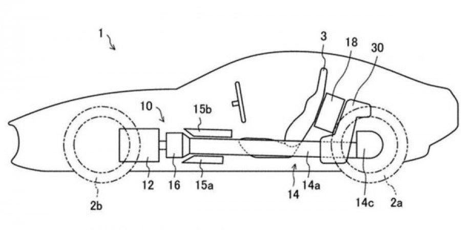
Σχέδια από μία πατέντα της Mazda από το γραφείο ευρεσιτεχνιών στις ΗΠΑ, δείχνει ένα σπορ μοντέλο με τρεις ηλεκτροκινητήρες, έναν περιστροφικό κινητήρα και κίνηση σε όλους τους τροχούς. Μήπως υπάρχει ακόμη ελπίδα για ένα σπορ με Wankel;
Παρόλο που η πατέντα είχε κατοχυρωθεί πριν από δύο χρόνια οι οπαδοί του Wankel μπορούν ακόμη να ελπίζουν στην επιστροφή του Wankel.
Όπως είδαμε και στο υβριδικό σύστημα e-Skyactiv R-EV του MX-30, αλλά με μια διαφορετική εκτέλεση (Διαβάστε περισσότερα).

Ρoή Ειδήσεων

Σχόλια αναγνωστών

Δείτε επίσης